智慧科技为你创造价值

 

 

智慧科技凭借在射频前端领域深厚的技术积累与研发实力,为业界带来了我司特有的小尺寸、高线性和高效率 GaAs + CMOS 射频前端解决方案

无线网络设备
智能物联IoT
车联网V2X
2 个产品
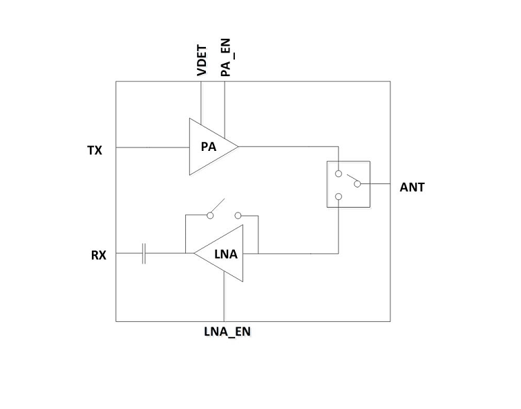
  • ZHT7528AT

    802.11p 高可靠性 V2X 射频前端模组

    24 ¥ 0.00
  • ZHT7526AT

    802.11p 高可靠性 V2X 射频前端模组

    14 ¥ 0.00